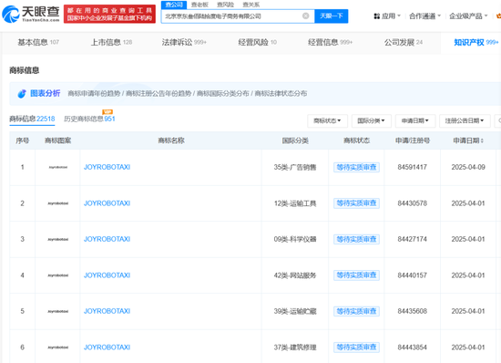
近日,天眼查显示,京东集团旗下子公司北京京东叁佰陆拾度电子商务有限公司,申请注册多枚“Joyrobotaxi”商标,国际分类涵盖运输工具、科学仪器、运输贮藏等核心领域,当前商标状态均为等待实质审查。

这一动作被业界普遍解读为,京东将正式布局自动驾驶出租车(Robotaxi)赛道的信号。
刘强东入局早有迹象
据中工汽车网报道,早在2015年,蔚来汽车董事长李斌和刘强东、章泽天见面时,花了15分钟介绍汽车项目。彼时,刘强东仅仅思考了10秒,就决定给李斌投资。现在,刘强东通过MaxSmartLimited家族信托,持有蔚来汽车2.82%的股份,是蔚来重要的股东之一。
到了2025年,京东汽车大集又在全国50城狂铺100场,并宣布投入5亿元补贴,加码汽车以旧换新市场。此外,京东集团还与京东还与比亚迪、岚图汽车达成了全面战略合作。
为何选择自动驾驶出租车?事实上,自动驾驶与京东的技术储备吻合,业务相协同。如京东在物流领域积累的自动驾驶技术或可复用至出租车场景,包括无人仓储系统中的路径规划算法、多传感器融合技术,以及配送机器人的实时调度能力,均与自动驾驶出租车的核心需求高度契合。
多家自动驾驶公司抢滩Robotaxi
从去年起,自动驾驶公司的Robotaxi步伐已明显加速,从教育市场已经迈入了抢占市场。
截至目前,文远知行Robotaxi总投放量为400多辆;小马智行投放量为260辆,预计今年这一数字将破千;萝卜快跑的规模效应更加显著,现已在全国投放约2000台车辆,两年内车队规模将提升至2万台,覆盖65个城市。
规模上量后,L4成本也进一步被摊薄。据悉,萝卜快跑第6代无人车整车成本相较5代车将下降60%,价格约在20.46万元;年初,摩根大通发布研报称,到2026 年,文远知行Robotaxi车辆成本将降至约30万元。
中国人工智能学会常务理事、智能驾驶专业委员会主任邓伟文也在其公开发表文章《自动驾驶重塑未来,国家应大力部署Robotaxi》中预测,通过自动驾驶软硬件的规模化量产,可以使自动驾驶整车成本降低至5万元(包括自动驾驶和激光雷达等设备,完全可以实现L4级别的自动驾驶)。
多重因素作用下,有关公司也在加速冲刺盈利。根据百度财报,截至今年1月,萝卜快跑已累计向公众提供乘坐次数超900万次,去年底其预计在武汉实现盈亏平衡;小马智行预计的单车运营毛利由负转正时间节点也将发生在今年。
由于研发聚焦、商业模式先试,自动驾驶公司在L4领域暂居领先地位。但未来,面对血条更厚且占据强大供应链优势的车企,这一先发优势能否守住,仍未可知。
来源 | 21财经客户端(南方财经全媒体记者丁莉)、天眼查、中工汽车网



发表评论
2025-05-12 02:07:39回复
2025-05-11 22:43:42回复